10 L Oversink 2010 Model

5 L Oversink 2009 Model

5 L Undersink

Solo

Hero

Monobloc
Zenith Tudor Sink Heaters Models 5 & 10 L O/S & U/S
90401 Element Neck Ring Kit Tudor
90407 Fascia Kit Tudor Undersink
90408 Fascia Kit Tudor Oversink
90409 Knob Kit Tudor Thermostat
90415 Element Kit Tudor 5L O/Sink
90416 Element Kit Tudor 10L O/Sink
90417 Element Kit Tudor 5L U/Sink
90418 Element Kit Tudor 10L U/Sink
90420 Pilot Light Kit Tudor S/Heater
90421 Thermostat Kit Tudor S/Heaters
90423 Overload Kit Tudor Sink Heater
99032 Zenith Telescopic Spout Kit Tudor
99076 Monobloc Mixer Tap Vented
99075 Solo Mixer Tap Single
99051 Hero Mixer Tap Single
90419 Element O Ring
99408 Tudor Mixer Tap Tall
99409 Tudor Mixer Tap Square
99410 Tudor Mixer Tap Classic
99415 Tudor Mixer Tap Classic Matte Black
92260 Mixer Tap Unvented Classic (Main)
Zenith Under Sink Heaters Models US7-US23
90169 Element Kit 2400w 4 Stud 8"
90324 Element Kit 900w 4 Stud U/S
90328 Thermostat Kit T2 70c
99019 Zenith Mixer Accessories-Wall
99020 Zenith Mixer Accessories-Hob
Zenith Tudor Hero/Solo/Monobloc Tapware to Suit Models 99034, 99049 & 99050
90566 Hero / Solo Tap Cartridge Kit - Cream 'Novelle'
90567 Hero / Solo Tap Body Seals Kit
90568 Hero / Solo Tap Fixing Kit
90569 Hero / Solo Tap Flex Tail Red
90570 Monobloc Tap Spindle Kit
90571 Hero / Solo Tap Flex Tail Blue
90682 Tap Cartridge blue 'Pacific'
90683 Tap Fixing 'Pacific'
90684 Tap red flex 'Pacific'
90685 Tap blue flex 'Pacific'
90686 Tap body seals 'Pacific'
Individual Parts Now Only Sold in Quantity
Gaskets
90369 Qty 10 Urn Handle Washers
90370 Qty 5 Urn Element Gaskets
90371 Qty 20 Inlet Seals Klinger
90452 Qty 10 Urn Sight Glass Washers
Various
90372 Qty 10 Float Valve Nut & Screw
90373 Qty 5 Disc Valve Assy 2-25L
90374 Qty 10 Jumper Valve Assy
90424 Qty 10 Inlet Nozzles Old Style
90425 10 Inlet Nozzles Current Style
90426 Qty 10 Grommets A133
90482 Qty 5 Tap Cup Seal /Spring KIt HS
90525 Qty 5 Disc Valve Assy 35-100L

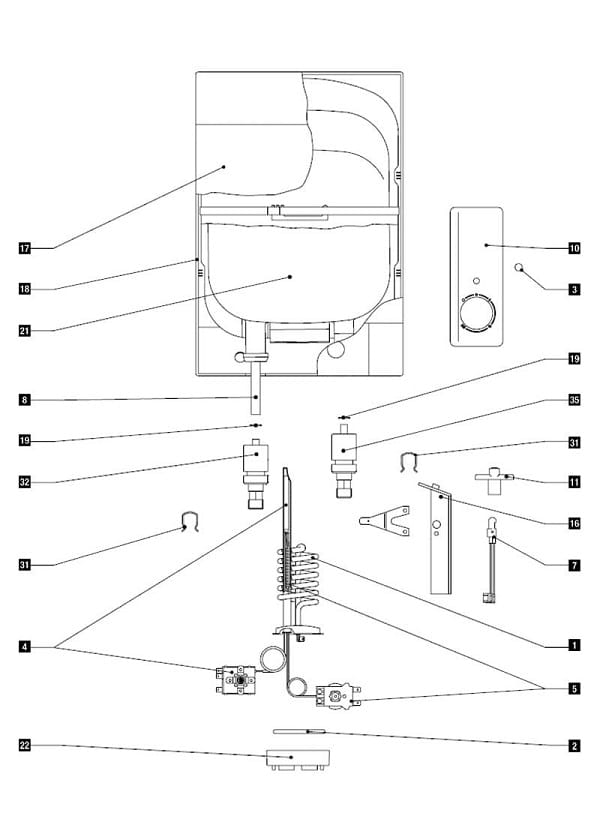
Item Kit No. Description
1 90836 Heating Element 2000 W
2 90852 Gasket
3 90853 Lens 8 red
4 90854 Thermostat
5 90855 Thermal cut-out
7 90856 Indicator Lamp
8 Outlet tube - 5L
8 Outlet tube L=38mm 10L
10 90842 Insertion panel - 5L
10 90844 Insertion panel - 10L
11 90840 Thermostat knob with clip
16 90843 Thermostat holder - 5L
16 90841 Thermostat holder - 10L
17 90838 Cover - front side - 5L
17 90857 Cover - front side - 10L
18 90839 Cover - back side - 5L
18 90858 Cover - back side - 10L
19 90859 Gasket
21 90837 Boiler - 5L
21 90860 Boiler - 10L
22 90861 Nut
31 Connection protector
32 Connection G 1/2
35 Connection G 1/2 with diffuser

Item Kit No. Description
1 90836 Heating element 2000 W
2 90852 Gasket
3 90853 Lens 8 red
4 90854 Thermostat
5 90855 Thermal cut-out
7 90862 Indicator Lamp
8 Inlet tube - 5L
8 Inlet tube l=298 mm 10 L
10 90868 Insertion panel - 5L
10 90867 Insertion panel - 10L
11 90840 Thermostat knob with clip
16 90843 Thermostat holder - 5L
16 90841 Thermostat holder - 10L
17 90838 Cover - front side - 5L
17 90857 Cover - front side - 10L
18 90839 Cover - back side - 5L
18 90858 Cover - back side - 10L
19 90859 Gasket
21 90864 Boiler - 5L
21 90863 Boiler - 10L
22 90861 Nut
31 Connection protector
32 Connection G 1/2
34 Diffuser
67 Diffuser - 10L